Senders for 1993 Cadillac Eldorado
No.
Part # / Description / Price
Price
2
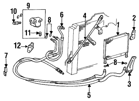
Fuel Tank Filler Cap
GM
GM Description: Helps provide a tight seal to keep your vehicle's fuel tank from releasing fumes
Helps prevent elements from entering the fuel tank
MSRP $32.41
$18.63
MSRP $32.41
$18.63
6
Acdelco™ Fuel Gauge Sending Unit
GM
GM Description: Ac 43-911. All models. 4.6l, 4.9l. (ac ep264). Fuel Sender Stamped EPV. In Tank Assy.. Vendor:acdelco. Vendor #43-911.
6
Fuel Pump Module Kit
GM
GM Description: Ac 43-911. 1994-96. All models. 4.6l, 4.9l. (ac ep264). Helps provide a reliable fuel supply to your vehicle's engine
Electrical connections are designed to help eliminate high resistance due to vehicle vibration
Designed to optimize pump life and reduce fuel pump noise
This GM Genuine Part is designed, engineered, and tested to rigorous standards and is backed by General Motors
10
Acdelco™ Electric Fuel Pump
GM
GM Notes: Parts & Prices For Estimating Only.
Description: Vendor:acdelco. Vendor #EP307. Ac ep307. All models. 4.6l, 4.9l. (ac ep264). Fuel Sender Stamped EPT,EPW.
10
Fuel Pump
GM
GM Notes: Parts & Prices For Estimating Only.
Description: Ac ep307. All models. 4.6l, 4.9l. (ac ep264). Vendor:acdelco. Vendor #EP307.
13
13
Vapor Canister
GM
GM Description: Cavalier, Sunfire. Corvette. 4.6L, with bracket. Egr valve, vapor canister and sensors.
No.
Part # / Description / Price
Price
5
Auxiliary Engine Oil Cooler Inlet Hose Kit with Nut and Seal
GM
GM Description: Auxiliary, to radiator, lower. 4.6L. From Radiator to Auxiliary Oil Cooler. This GM Genuine Part is designed, engineered, and tested to rigorous standards and is backed by General Motors
6
Auxiliary Engine Oil Cooler Outlet Hose Assembly
GM
GM Description: Auxiliary, to radiator, upper. 4.6L. From Auxiliary Oil Cooler to Engine. Durable material designed to handle high temperature oil transfers
8
Multi-Purpose Seal
GM
GM Description: Cooler Hose O-Ring. 10.5mm I.D. 4.6L. Inlet Pipe O-Ring. 10.5mm I.D. Oil Cooler Line. 4.9L, o-ring. Helps prevent leaks in various components of your vehicle
This GM Genuine Part is designed, engineered, and tested to rigorous standards and is backed by General Motors
Original equipment parts are designed to work with your GM vehicle safety systems -- aftermarket replacement parts may not meet the same OE safety regulations, depending on the part type
MSRP $0.18
$0.12
MSRP $0.18
$0.12
10
Engine Oil Pressure Switch
GM
GM Description: 1st Design. 1/4"-NPT. Auxiliary. Allante. All models. Sensor. 4.6l. Aurora.
11
Engine Oil Filter Bypass Valve
GM
GM Notes: PARTS: Part included with adapter.
Description: 4.6L. Auxiliary. This GM Genuine Part is designed, engineered, and tested to rigorous standards and is backed by General Motors
MSRP $9.62
$5.53
MSRP $9.62
$5.53
Related Parts
Part # / Description / Price
Price
1984-2014 GM Coolant Temp Sensor
GM
GM Description: This GM Genuine part is designed, engineered and tested to rigorous standards, and are backed by General Motors
MSRP $46.88
$26.96
MSRP $46.88
$26.96
Temp Sending Unit
GM
GM Description: 8 cylinder. Switch. 6 cylinder. Buick, oldsmobile. All models. 3.8l. All models. 4.5l, 4.9l. All models. 4.6l, 4.9l.

